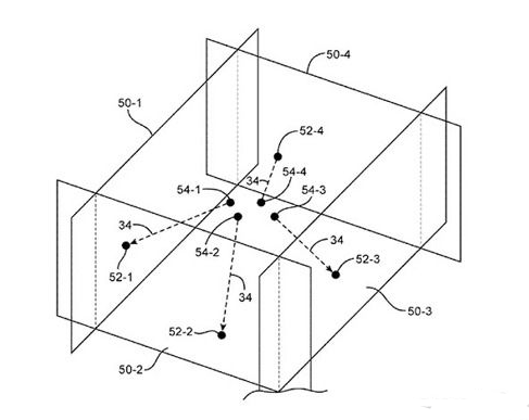
像传统的测量工具一样,苹果实现了采用激光传感器来收集来自多个点的样本数据,在一个房间里,无论是一面墙壁或者是一个更复杂的对象。当一个样品被触发时,相关的装置就会根据位置与方向与以前的样品进行比较,然后确定该装置在空间上的精确位置,这也允许用户在移动的时候收集数据。

最后这些数据将会送入到一个映射应用程序里,然后该应用程序会创造更精确的目标空间。
这项技术应该不会用于下一代 iPhone 身上,但是它看起来非常合适苹果的 Titan 项目。

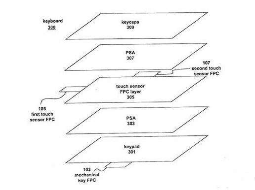
接下来让我们了解一下专利号为 No. 9454239 的专利,它主要描述了一款压感机械键盘。这款键盘既能够用于平常的敲击输入,又兼容压感功能。压感功能能够识别轻敲、滑动和悬停的动作,用户可以直接通过键盘控制光标移动,触控板将不再成为必需品。

和传统的键盘一样,苹果在发明这款键盘的时候将会安装一些触摸元件,这也使得用户直接通过键盘控制光标移动。考虑到苹果很可能在即将推出的 MacBook Pro 上装配触摸 OLED 屏,而 OLED 屏被认为是高度可定制的,开发者可以利用硬件来显示应用程序特定的指令和信息。

最后,苹果还申请了一项光学连接器(Optical connector)的专利(专利号为 NO.9453976 ),这项功能其实与 Smart Connector 很相似,它能够帮助苹果设备与一些附件连接,相较于WIFi和蓝牙,将消耗更少电量。
在新专利中,苹果提出了使用肉眼看不见的光接口概念。
不过,获得专利和将专利投入商用,完全是两码事。对于消费者来说,我们自然希望苹果能获得更多好玩又有用的专利,然后将这些专利用到各种设备的身上。可登入一品标局http://www.epbiao.com/查阅更多新闻。
温馨提示:文中部分图片来源于网络,版权属于原作者,侵删,谢谢!
便捷链接:苹果新专利申请出炉,与地
本文来源:网络?买卖商标注册授权入驻“天猫”“京东”“拼多多”“抖音头条”“商标百科”
版权说明:上述为转载或编者观点,不代表亿佰倍懂商标意见,不承当任何法律责任
亿佰倍懂商标官方微信
欢迎关注亿佰倍懂
微信号:K58158 热门TAGS
购买上海商标 商标复审 商标撤三答辩 商标驳回复审 国际商标驳回 知名商标转让 白酒商标网 19类商标转让 18类商标转让 17类商标转让 16类商标转让 15类商标转让 14类商标转让 13类商标转让 11类商标转让 12类商标转让 10类商标转让 9类商标转让 8类商标转让 7类商标转让 6类商标转让 5类商标转让 4类商标转让 3类商标转让 2类商标转让 1类商标转让 T恤商标转让 红酒商标转让 黄酒商标转让 水饺商标转让 糖果商标转让 闲置商标转让 商标购买网站 月饼商标转让 购买月饼商标 购买牛奶商标 牛奶商标转让 购买餐饮商标 餐饮商标转让 啤酒商标转让 购买啤酒商标 购买酒类品牌 酒类品牌转让 购买饮料商标 饮料商标转让 食品商标转让 购买食品商标 购买镀膜商标 镀膜商标转让 机油商标转让 购买机油商标 头枕商标转让 购买头枕商标 车衣商标转让 购买车衣商标 购买车贴商标 车贴商标转让 凉垫商标转让 睡袋商标转让 包子商标转让
联系方式
【商标网】
企业QQ:1728988888
手机: 18211558558
官方微信:K58158
广东(总部)北京(分部)深圳(分部)

*截止
,共有人阅读了本文。


40
加工服务