说起受欢迎的水果,荔枝必须榜上有名,人们对荔枝的喜爱不止停留在水果本身,还将其延伸到各行各业,比如我们熟知的荔枝FM,广东广播电视台、江苏广电旗下也都开设有荔枝台、荔枝网。

2014年,广东广播电视台、广东网络广播电视台将官方网站命名为“荔枝台”,并获得相关商标权利,截止至2019年,广东广播电视台共申请注册了41件带有“荔枝”字样的商标。

近期,广东广播电视台大肆开展“荔枝台”维权行动,万万没想到的是…
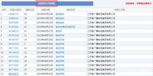
江苏广电从2014年就开始申请带“荔枝”字样的商标,共申请注册193件,其中包括“荔枝台”、“荔枝网络台”、“荔枝电视”、“荔枝社区”等,主要包括第35、38、41等几个核心的类目。

除了江苏卫视,荔枝FM也申请了230件带“荔枝”字样的商标。

荔枝FM所在的广州荔枝网络技术有限公司曾在2016年对广东广播电视台名下的“荔枝台WWW.GDTV.CN及图”商标提起异议,该商标被核准使用在第41类广播和电视节目制作、演出制作等服务上。
但由于荔枝网络提交的证据不足,商标局仍核准了广东广播电视台对“荔枝台WWW.GDTV.CN及图”商标的注册申请。
无论是两大卫视,还是荔枝FM,都对“荔枝”系列商标虎视眈眈,可见抢手的商标是很有市场价值的。
目前有很多和“水果”或“动物”有关的品牌,比如东方卫视被称为“芒果台”,湖南卫视被称为“芒果台”,再比如家喻户晓的苹果手机、今日头条旗下的“西瓜视频”……
以水果、动物命名,能够使品牌具有亲和力,迅速拉近与用户之间的关系,由此也注定了这类商标是受人追捧的。如果你对水果商标感兴趣,别犹豫,看准时机下手就对了!
关注一品知识产权,任何商标方面的需求,欢迎加VX:2819886403(QQ同号) 咨询~
便捷链接:这颗“荔枝”太上火了,
本文来源:网络?买卖商标注册授权入驻“天猫”“京东”“拼多多”“抖音头条”“商标百科”
版权说明:上述为转载或编者观点,不代表亿佰倍懂商标意见,不承当任何法律责任
亿佰倍懂商标官方微信
欢迎关注亿佰倍懂
微信号:K58158 热门TAGS
购买上海商标 商标复审 商标撤三答辩 商标驳回复审 国际商标驳回 知名商标转让 白酒商标网 19类商标转让 18类商标转让 17类商标转让 16类商标转让 15类商标转让 14类商标转让 13类商标转让 11类商标转让 12类商标转让 10类商标转让 9类商标转让 8类商标转让 7类商标转让 6类商标转让 5类商标转让 4类商标转让 3类商标转让 2类商标转让 1类商标转让 T恤商标转让 红酒商标转让 黄酒商标转让 水饺商标转让 糖果商标转让 闲置商标转让 商标购买网站 月饼商标转让 购买月饼商标 购买牛奶商标 牛奶商标转让 购买餐饮商标 餐饮商标转让 啤酒商标转让 购买啤酒商标 购买酒类品牌 酒类品牌转让 购买饮料商标 饮料商标转让 食品商标转让 购买食品商标 购买镀膜商标 镀膜商标转让 机油商标转让 购买机油商标 头枕商标转让 购买头枕商标 车衣商标转让 购买车衣商标 购买车贴商标 车贴商标转让 凉垫商标转让 睡袋商标转让 包子商标转让
联系方式
【商标网】
企业QQ:1728988888
手机: 18211558558
官方微信:K58158
广东(总部)北京(分部)深圳(分部)

*截止
,共有人阅读了本文。


40
加工服务