全部服务分类
  • 商标注册1专区

  • 申请商标专区

  • 商标套餐专区

  • 白酒商标转让专区

  • 商标转让专区

  • 版权登记专区

  • 城市商标注册专区

  • 中国商标转让专区

more

微软新可折叠设备专利公示:可自由控制摄像头

*截止 ,共有人阅读了本文。

推荐阅读:微软新可折叠设备专利公


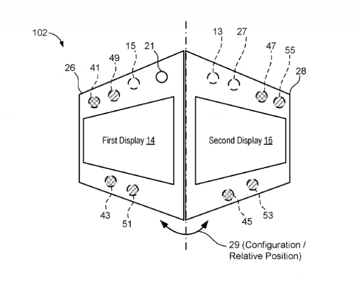
  援引多家媒体此前报道,微软内部一直致力于开发代号为"Andromeda"(仙女座)的可折叠设备,并有望在今年晚些时候上线发布。根据美国商标和专利局今年 1 月 3 日公示的专利清单,微软获得了一款名为 " 在拥有多个屏幕的设备中动态控制相机资源 " 的技术,揭示了双屏设备如何使用相机模块。

微软新可折叠设备专利公示:可自由控制摄像头组件

  该专利于 2017 年 6 月提交,在专利的背景技术描述中微软解释了如何为计算设备配备多个摄像头,而且每个摄像头可以针对不同的用户使用模式启用。在专利中微软写道,拥有多个屏幕的设备可以包括多个麦克风和扬声器。

  在专利中表示多屏设备会会拥有 1 个或者更多的前置摄像头,在设备的两个屏幕上都可以拥有各自的前置摄像头。同时每个屏幕的背面也有后置摄像头。当用户展开或者折叠的时候根据设备形态来激活相应的摄像头模组。


上一篇:威胁华为联想不签专利协议就断供!高通这是想
下一篇:山东公布专利创新百强企业 超五成在三大“核心


亿佰倍懂商标官方微信

欢迎关注亿佰倍懂

亿佰倍懂 微信号:K58158

热门TAGS


购买上海商标 商标复审 商标撤三答辩 商标驳回复审 国际商标驳回 知名商标转让 白酒商标网 19类商标转让 18类商标转让 17类商标转让 16类商标转让 15类商标转让 14类商标转让 13类商标转让 11类商标转让 12类商标转让 10类商标转让 9类商标转让 8类商标转让 7类商标转让 6类商标转让 5类商标转让 4类商标转让 3类商标转让 2类商标转让 1类商标转让 T恤商标转让 红酒商标转让 黄酒商标转让 水饺商标转让 糖果商标转让 闲置商标转让 商标购买网站 月饼商标转让 购买月饼商标 购买牛奶商标 牛奶商标转让 购买餐饮商标 餐饮商标转让 啤酒商标转让 购买啤酒商标 购买酒类品牌 酒类品牌转让 购买饮料商标 饮料商标转让 食品商标转让 购买食品商标 购买镀膜商标 镀膜商标转让 机油商标转让 购买机油商标 头枕商标转让 购买头枕商标 车衣商标转让 购买车衣商标 购买车贴商标 车贴商标转让 凉垫商标转让 睡袋商标转让 包子商标转让

联系方式

【商标网】
企业QQ:1728988888
手机: 18211558558
官方微信:K58158
广东(总部)北京(分部)深圳(分部)